
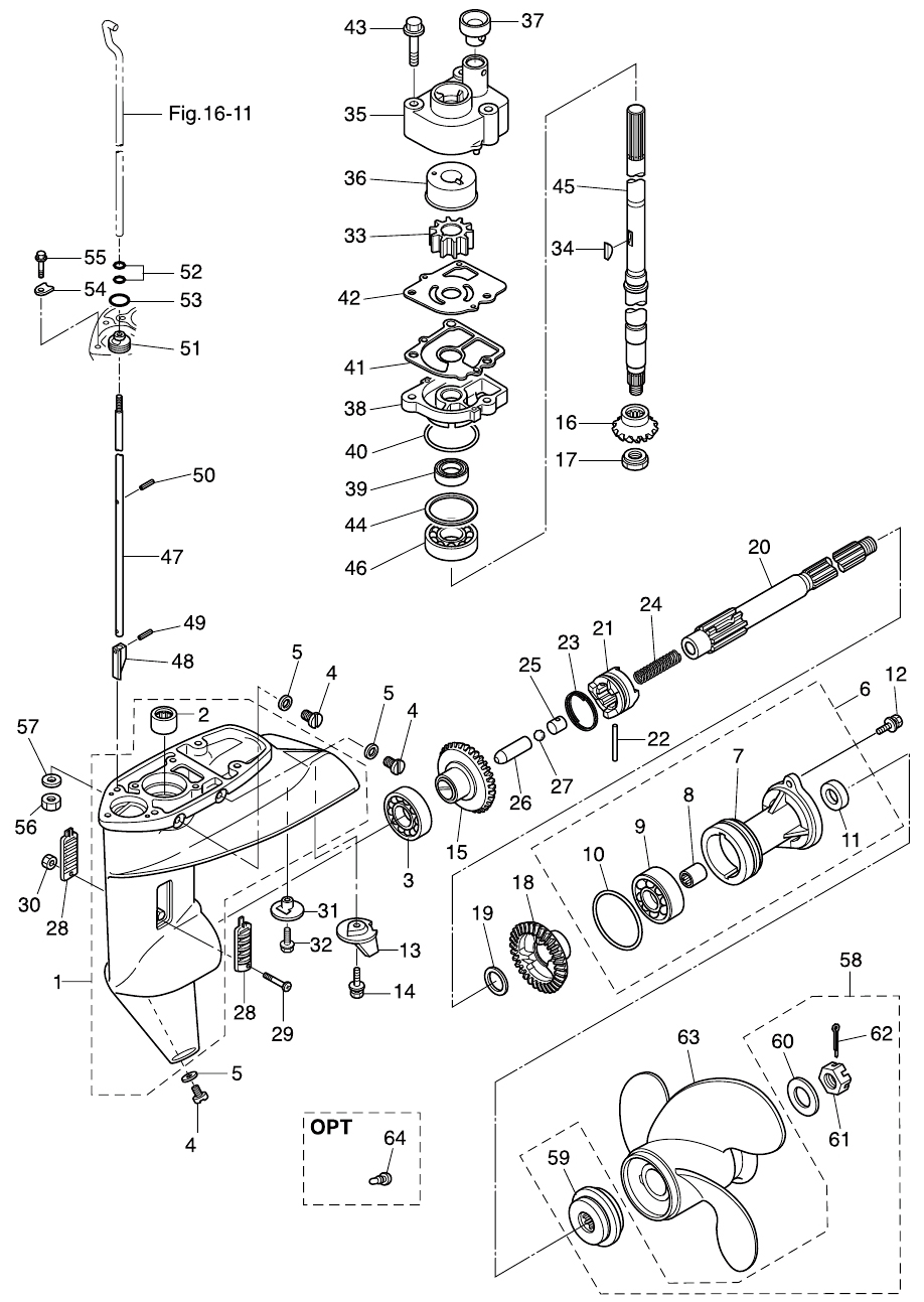
10. GEAR CASEClick Here for Microfiche Usage Tip
![]() Parts List
2013 :: 20 HP :: 4 Stroke Nissan NSF20C :: GEAR CASE
Parts Description
Parts Description
Parts Description
Parts Description
Parts Description
Parts Description
Parts Description
Parts Description
Parts Description
Parts Description
Parts Description
Parts Description
Parts Description
Parts Description
Parts Description
Parts Description
Parts Description
Parts Description
Parts Description
Parts Description
Parts Description
Parts Description
Parts Description
Parts Description
Parts Description
Parts Description
Parts Description
Parts Description
Parts Description
Parts Description
Parts Description
Parts Description
Parts Description
Parts Description
Parts Description
Parts Description
Parts Description
Parts Description
Parts Description
Parts Description
Parts Description
Parts Description
Parts Description
Parts Description
Parts Description
Parts Description
Parts Description
Parts Description
Parts Description
Parts Description
Parts Description
Parts Description
Parts Description
Parts Description
Parts Description
Parts Description
Parts Description
Parts Description
Parts Description
Parts Description
Parts Description
Parts Description
Parts Description
Parts Description
|

