
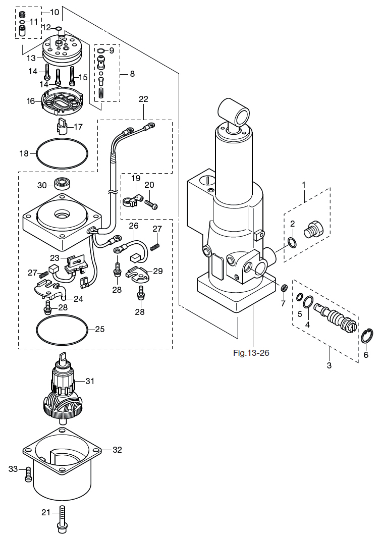
14. POWER TILTClick Here for Microfiche Usage Tip
![]() Parts List
2011 :: 9.8 HP :: 4 Stroke Nissan NSF9.8A3 :: POWER TILT
Parts Description
Parts Description
Parts Description
Parts Description
Parts Description
Parts Description
Parts Description
Parts Description
Parts Description
Parts Description
Parts Description
Parts Description
Parts Description
Parts Description
Parts Description
Parts Description
Parts Description
Parts Description
Parts Description
Parts Description
Parts Description
Parts Description
Parts Description
Parts Description
Parts Description
Parts Description
Parts Description
Parts Description
Parts Description
Parts Description
Parts Description
Parts Description
Parts Description
|

