
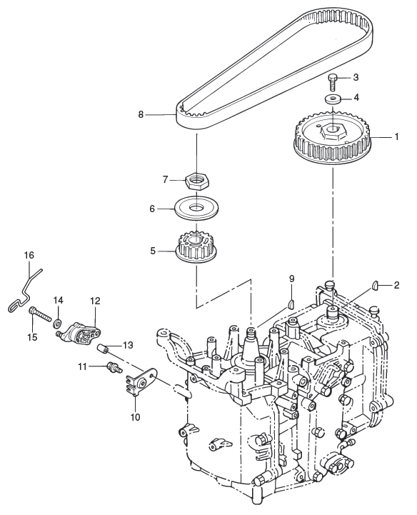
4. PULLEY & TIMING BELTClick Here for Microfiche Usage Tip
![]() Parts List
2009 :: 9.8 HP :: 4 Stroke Tohatsu MFS9.8A3 :: PULLEY & TIMING BELT
Parts Description
Parts Description
Parts Description
Parts Description
Parts Description
Parts Description
Parts Description
Parts Description
Parts Description
Parts Description
Parts Description
Parts Description
Parts Description
Parts Description
Parts Description
Parts Description
|

