
6. THROTTLE MECHANISM - TILLER HANDLEClick Here for Microfiche Usage Tip
![]() Parts List
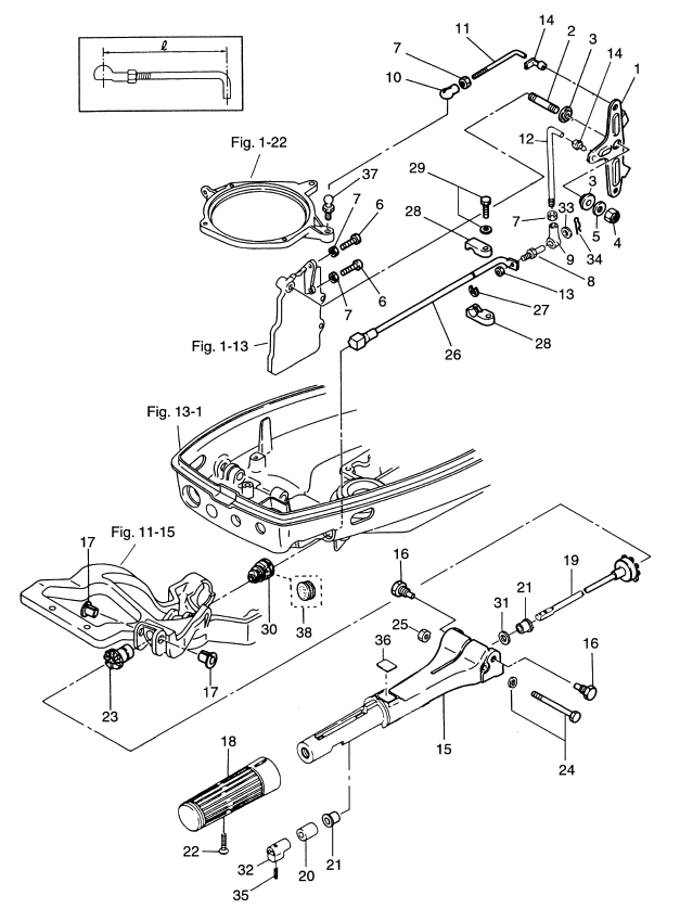
2003 :: 15 HP :: 2 Stroke Nissan NS15D2 :: THROTTLE MECHANISM - TILLER HANDLE
Parts Description
Parts Description
Parts Description
Parts Description
Parts Description
Parts Description
Parts Description
Parts Description
Parts Description
Parts Description
Parts Description
Parts Description
Parts Description
Parts Description
Parts Description
Parts Description
Parts Description
Parts Description
Parts Description
Parts Description
Parts Description
Parts Description
Parts Description
Parts Description
Parts Description
Parts Description
Parts Description
Parts Description
Parts Description
Parts Description
Parts Description
Parts Description
Parts Description
Parts Description
Parts Description
Parts Description
Parts Description
Parts Description
|

