
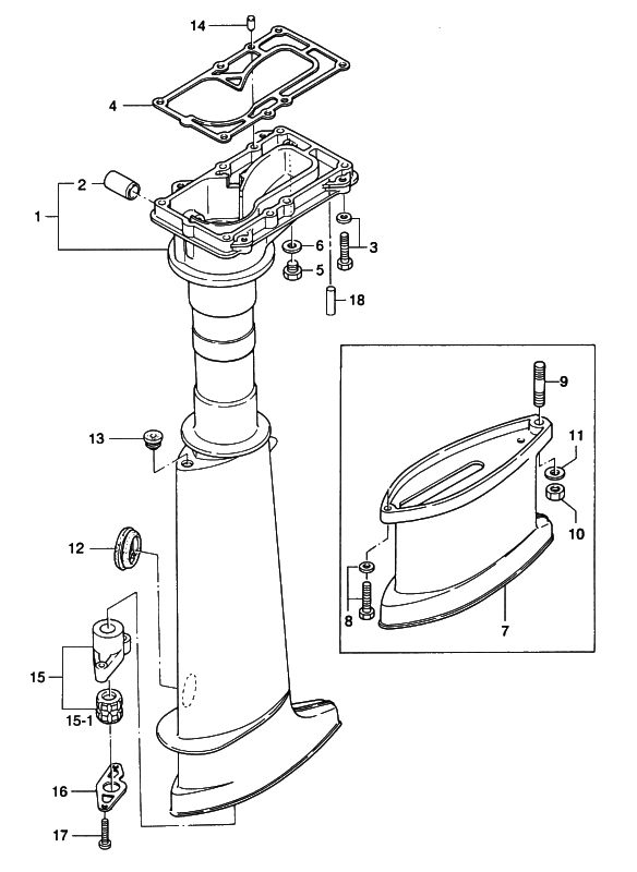
7. DRIVE SHAFT HOUSINGClick Here for Microfiche Usage Tip
![]() Parts List
2003 :: 5 HP :: 2 Stroke Tohatsu M5B :: DRIVE SHAFT HOUSING
Parts Description
Parts Description
Parts Description
Parts Description
Parts Description
Parts Description
Parts Description
Parts Description
Parts Description
Parts Description
Parts Description
Parts Description
Parts Description
Parts Description
Parts Description
Parts Description
Parts Description
Parts Description
Parts Description
|

